Rurka miski olejowej 12667435 (Astra K, Insignia B, Mokka)

12667435

Nowe

PRODUCENT: OPEL

PASUJE DO:

OPEL Astra K, Insignia B, Mokka

Więcej szczegółów

84,74 zł

Więcej informacji

OPIS PRODUKTU:
Nowa, oryginalna rurka miski olejowej stosowana w poniższych modelach Opla.

INFORMACJE:
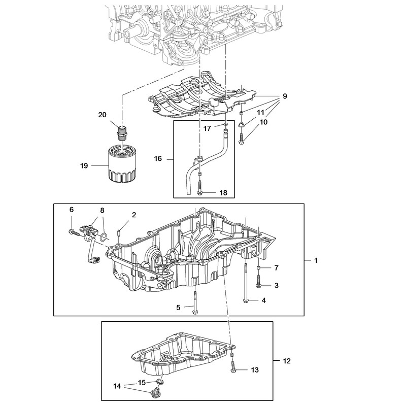
• Pozycja nr.16 na rysunku
• Do silnika:
Astra K: B14XE, B14XFL, D14XFL, B14XNT, D14XNT, B14XFT, D14XFT
Insignia B: B15SFL, D15SFL, B15SFT, D15SFT
Mokka / Mokka X: B14XFT

ZASTOSOWANIE:
ASTRA K
INSIGNIA B
MOKKA / MOKKA X

ORYGINALNA CZĘŚĆ OPEL:
Numer OE:
 12667435

Cena obowiązuje do wyczerpania zapasów.

W przypadku zamówienia wymagane jest podanie numeru VIN celem poprawnego doboru części.